Shackle Insulator
A shackle insulator is an insulator of generally cylindrical form. It has two or more sheds and an axial mounting hole. Through the thread nails, it can be fixed firmly.
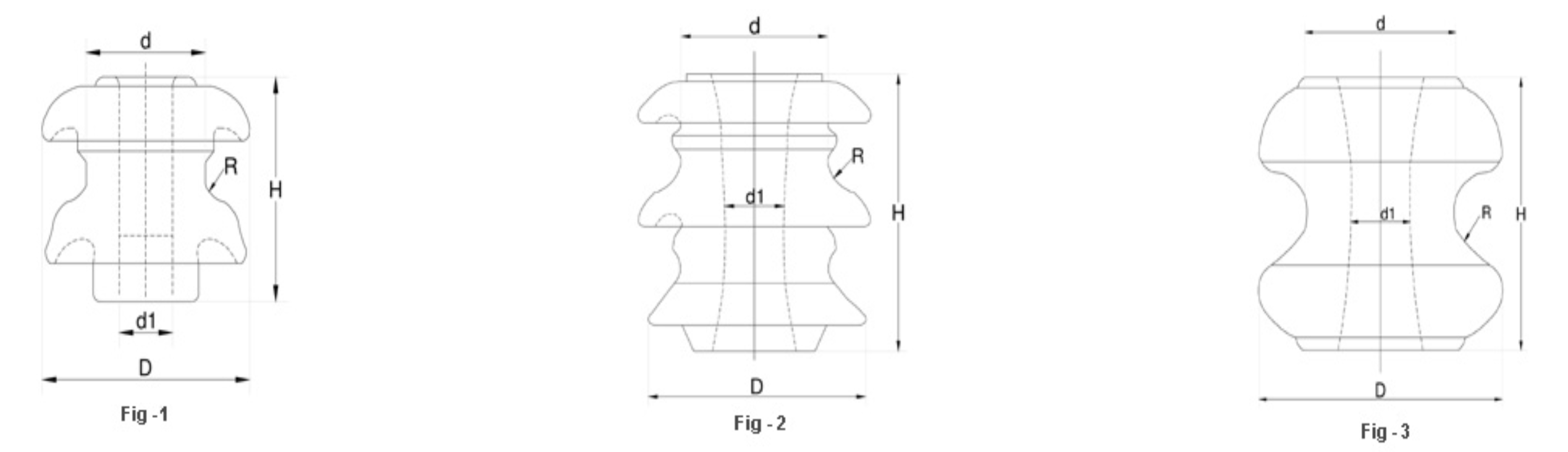
Main dimensions and standard particulars
| Fig No. | 2 | 1 | 1 | 3 | 3 | 3 | ||
| Class ANSI | ED-2 ( C ) | ED-2 ( B) | ED-2 ( B)1 | 1617 | 1618-1 | 1618-1 | ||
| Main Dimensions (mm) | H | 80 | 76 | 76 | 65 | 75 | 75 | |
| D | 80 | 89 | 89 | 76 | 89 | 89 | ||
| d | 50 | 48 | 48 | 46 | 55 | 55 | ||
| d1 | 22 | 21 | 17.5 | 17.6 | 17 | 17 | ||
| R | 6 | 10 | 10 | 9 | 12.5 | 12.5 | ||
| Mechanical Falling Load (KN) | 13 | 12 | 12 | 9 | 10 | 13 | ||
| Minimum Flashover Voltage | Power Frequency | Dry (kv) | 25 | 25 | 25 | 20 | 20 | 25 |
| Wet (kv) | 15 | 12 | 12 | 9 | 9 | 12 | ||
| Weight (kg) | 0.5 | 0.5 | 0.5 | 0.4 | ||||